影音 - 的 同標籤文章 - 共有 3091 篇文章 搜尋時間 0.011 秒
華爾街日報:YouTube並未實質獲利
2015-02-26 17:04:00 by mash @ Mash-Digi [引用來源]
即便騎馬舞大叔PSY的《江南Style》累積超過20億次播放次數,同時每月超過10億人次的超高活躍用戶數量,似乎仍未使YouTube帶來實質上的獲利。華爾街日報相關報導表示,由於持續迅速增長的影片上傳量與瀏覽流量,讓YouTube必須支付高額費用添購更多伺服器與網路頻寬支撐,同時加上支付內容合作與原創內容獎勵等費用支出,實際上也沒有達到明顯獲利情況。 根據華爾街日報網站報導...... [閱讀更多]
Magic Leap:微軟虛擬頭戴顯示器將造成腦部傷害
2015-02-26 15:48:11 by mash @ Mash-Digi [引用來源]
雖然微軟強調頭戴式3D虛擬顯示器HoloLens所使用內容也能相容對應Magic Leap旗下設備,但Magic Leap執行長Rony Abovitz似乎對於微軟所推出的HoloLens有所意見,認為此類頭戴式顯示器將對使用者腦部造成暫時或永久性的神經傷害。 根據Cnet網站報導內容,Magic Leap執行長Rony Abovitz稍早於Reddit論壇中表示,認為微軟...... [閱讀更多]
Lytro斥資5千萬美元進軍VR 新機明年推
2015-02-26 13:27:56 by mash @ Mash-Digi [引用來源]
接連推出兩款光場相機之後,Lytro近期除傳出將在2016年推出第三代機種,並且加入全新影像應用技術外,更有消息指其將投入高達5000萬美元資金投入目前漸成主流的虛擬實境技術應用。 由於在後續推出的專業款機種Lytro Illum導入3D影像拍攝機能,Lytro進一步傳出將在2016年推出第三代機種,其中將加入全新影像應用技術,但目前暫時還沒有更具體細節透露。除此之外,根據...... [閱讀更多]
YouTube Kids正式推出 對應孩童使用
2015-02-24 23:56:04 by mash @ Mash-Digi [引用來源]
近期傳聞將針對孩童使用設計的YouTube Kids,稍早由Google正式宣佈推出,將分別對應Android與iOS平台使用,介面部分確定將採用更大按鍵、更具可愛元素設計圖示與更容易操作模式,相當適合幼兒觸控使用,同時也能讓家長設定觀看時間、限制搜尋內容與音量等功能。 Google宣布推出對應孩童使用設計的YouTube Kids,讓YouTube服務內容可讓更多孩童使用...... [閱讀更多]
Any Video Converter 6.3.3 免費的影音轉檔工具,便利的裁切、翻轉與視訊效果
2015-02-23 10:02:00 by 哇哇 @ 哇哇3C日誌 [引用來源]
影音轉檔的軟體市場其實頗競爭的,因為不少家軟體都公司都有同質的軟體,Any Video Converter 算是免費中還不錯的一款,不但支援了中文語系,在操作上也很友善,輸出檔案的格式也很多元,內建了影片剪裁功能,能夠調整影片的亮度語對比,甚至連浮水印的功能都是免費的唷!還可以直接下載網路影音進行編輯,在功能上算是頗超值的。 ...... [閱讀更多]
Twitch首屆開發者活動 9月美國登場
2015-02-21 17:28:33 by mash @ Mash-Digi [引用來源]
去年確定由亞馬遜出資收購的Twitch,今年也將在今年9月25日、26日間舉辦旗下首次開發者活動,地點將選擇在美國舊金山Moscone Center West,期間重點將聚焦在如何帶領使用者或相關應用內容將Twitch服務進一步發揮,但尚未透露更具體議程等細節內容。 根據Twitch官方宣布消息,預計將在今年9月25日、26日間舉辦旗下首次開發者活動,地點將選擇在美國舊金山...... [閱讀更多]
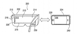
蘋果也曾計畫推出自有頭戴虛擬顯示裝置
2015-02-18 20:30:31 by mash @ Mash-Digi [引用來源]
從近期曝光的專利內容顯示,蘋果在2008年也曾遞交申請以iPhone為基礎的頭戴式虛擬顯示裝置,大致與目前Google、三星、LG所提出設計相似,都是以手機螢幕作為主要顯示來源,並且配合手機感應元件對應虛擬實境畫面顯示角度與方位,另外也能透過外部控制器進行連動操作。 根據美國專利與商標局公布文件顯示,蘋果在2008年9月30日便已經遞交申請以iPhone作為顯示螢幕的頭戴式...... [閱讀更多]
蘋果招募英國BBC知名DJ 推動音樂市場
2015-02-16 12:53:52 by mash @ Mash-Digi [引用來源]
將Beats Music收歸旗下之後,蘋果尚未具體說明是否將藉其發展音樂串流播放服務。而在近期動態裡,蘋果確定將招聘曾任英國BBC Radio 1知名DJ Zane Lowe,未來或許將協助蘋果進一步將Beats Music資源整合至蘋果旗下產品與服務,同時也可能協助蘋果持續推廣iTunes Festival等音樂活動。 根據英國BBC報導指出,在BBC Radio 1任職...... [閱讀更多]
REALSHOW 真享秀 手機影音棒 開箱實測,影音串流神器,100%支援 iOS、Android、Windows 三大系統|KK3C狂想曲
2015-02-07 08:00:00 by 艾倫 @ KK3C狂想曲 [引用來源]
去年12月 Google Chromecast 在台灣上市了,雖說它有支援 Android 裝置,也支援蘋果 iOS,和 Windows 等系統,艾倫使用過 Chromecast 後覺得在 iOS 和 Windows 的支援性不是很完整,只支援部分軟體的功能,最近台灣品牌瑞雲資訊,推出一款可支援 Airplay、Miracast 與 DLNA 的手機影音棒,橫跨 iOS、And...... [閱讀更多]
蘋果傳推新電視服務 與Dish、Sony等抗衡
2015-02-05 20:25:12 by mash @ Mash-Digi [引用來源]
雖然近期並沒有Apple TV更新消息,同時關於蘋果大尺寸電視的傳聞也相對減少,不過蘋果似乎仍計畫推行自有對應機上盒裝置的網路電視付費內容服務,並且傳出與電視節目持續洽談合作,預期將在美國境內與Dish旗下Sling TV、Sony PlayStation Vue訂閱服務抗衡。 根據Re/code網站引述產業高層消息表示,蘋果近期正與電視節目持續洽談合作,預期將用在之後準備...... [閱讀更多]

