Insta360「模組化」口袋雲台相機專利曝光,劍指3月登場的DJI Pocket 4?
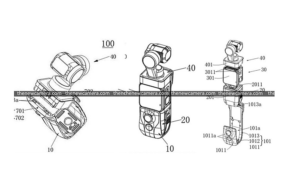
就在傳聞DJI將於3月更新其熱賣的Osmo Pocket口袋相機產品線之際,競爭對手Insta360似乎準備了一張「模組化」的底牌。根據最新曝光的專利顯示,Insta360正在研發一款鏡頭可拆卸、支援無線拍攝的口袋雲台相機,試圖以更高的使用彈性,正面迎戰DJI Pocket 4。 ▲(圖/擷自thenewcamera網站) Insta360新專利:像樂高一樣的「變形」雲台 ......

